AES Audio Out auf einen SPDIF Eingang

  • Ersteller Ersteller Skogtroll
  • Erstellt am Erstellt am
  • #21
Nein, im Audiobereich ist die XLR(3) Belegung immer 2 = +, 3 = -, 1 = Masse bzw. Schirm.

...egal "wie rum": Beides funktioniert nicht.

Ich vermute, da sind wie schon zu unterschiedliche Sampler- und Bit-Raten.

Ich bin so ein wenig am Schwimmen und habe kein klares Konzept vor Augen. Wozu würdet Ihr mir raten?

@Skogtroll
Ich habe gerade eine ähnliche Aufgabenstellung und habe mir bei eBay den hier gekauft:

CANARE BCJ-XJ-TRA

...habe mal geschaut, bei eBay finde ich das Teil nicht mehr. Ich finde nur diesen Adapter: https://www.syntexshop.de/canare-bcj-xj-trc
 

  • #22
Hast Du die Möglichkeit, irgendwo an jemanden mit einem Oszilloskop heran zu kommen?
Ich würde tatsächlich mal vorschlagen, die Signale am Variax Stecker durchzumessen.

Edit: kannst Du am Fractal Dingens die Clockquelle auswählen? Die Variax muss wahrscheinlich der Master sein in der Beziehung (sonst wirds ganz böse). Das beschriebene Knacken kenne ich von nicht synchronisierten Wandlern.
 
  • #23
Wozu würdet Ihr mir raten?
Such dir jemand der eine DAW mit einem Interface hat das SPDIF und / oder AES Eingänge hat und schau dir da mal an was dein Gerät ausgibt.
Nachdem dein ausgebendes Gerät AES symmetrisch sendet und du auf SPDIF unsymmetrisch adaptierst kann es auch ein Potential Problem sein das die Probleme verursacht.
Kannst mal versuchen über eine passive DI zu gehen.
 
  • #24
Hast Du die Möglichkeit, irgendwo an jemanden mit einem Oszilloskop heran zu kommen?
Ich würde tatsächlich mal vorschlagen, die Signale am Variax Stecker durchzumessen.

Edit: kannst Du am Fractal Dingens die Clockquelle auswählen? Die Variax muss wahrscheinlich der Master sein in der Beziehung (sonst wirds ganz böse). Das beschriebene Knacken kenne ich von nicht synchronisierten Wandlern.

Ohhhh haaaa :wtf: ...jetzt geht's in's Eingemachte ;) ...aber eine gute Idee ist es ja mit einem Oszilloskop. Es ist über 40 Jahre her, wo ich an einem Oszi gesessen habe. Ich schick gleich mal eine Signal-PN raus, ich kann mir vorstellen, dass eine sehr gute und technisch sehr versierte Freundin mit da weiter helfen kann.

Aber eigentlich ist das der richtige Weg: Analyse und danach handeln ;)

Die Clockquelle ist natürlich die des Fractal Audio Floorboards. Ich kann da aber aber was auf extern umstellen - sehe ich mir morgen mal an.
 
  • #25
Die Clockquelle ist natürlich die des Fractal Audio Floorboards.
Wenn du mit Quelle Master meinst dann ist das schon mal der erste Fehler. Er empfängt das AES Signal also muss er der Clock Slave sein.
 
  • Danke
Reaktionen: Guitar_TT
  • #26
Wenn du mit Quelle Master meinst dann ist das schon mal der erste Fehler. Er empfängt das AES Signal also muss er der Clock Slave sein.

O.K.! ...ich wollte mir das alles heute im Laufe des Tages nochmals ansehen.

Verständnisfrage: Es ist richtig, dass ich bis jetzt überhaupt gar keinen Audio-Ton gehört habe?

-----

@Guitar_TT , leider kann ich kein Oszilloskop organisieren. Aber ich schau erst mal wegen der "Clock".

-----

Ich bin wegen der Zuordnung der AES- und AES+ Anschlüsse sehr verwirrt. Kann es sein, das sich die Firma Line6 mit der Variax Gitarre eine Extra-Wurst brät?!?!???? ...ich hatte im VG-Guitar Forum wegen der Variax und der AES-Anschlussbelegung gefragt. Mein Problem ist nur das Verständnis der englischen Sprache.

Die posten mir nämlich dieses Bild...

image048-1024x501.jpg

...und weisen lediglich weiter darauf hin, das bei älteren XLR-Steckern wohl die Pin's an anderer Position waren.
 
  • #27
Clock Quelle muss die Gitarre sein.

Ansonsten dreh mal die Pins 2 und 3 um.
 
  • #28
Clock Quelle muss die Gitarre sein.

Ansonsten dreh mal die Pins 2 und 3 um.

Die Variax ist mit Sicherheit "Vollautomatisch" als Clock-Quelle definiert, denn da was einstellen kann ich nicht :D ...es macht aber auch Sinn es so zu händeln ;)

Ich gehe heute noch bei, das FM9 Floorboard auf Clock-Slave zu setzen. Ich werde berichten!
 
  • #29
Die posten mir nämlich dieses Bild...

Anhang anzeigen 144386

...und weisen lediglich weiter darauf hin, das bei älteren XLR-Steckern wohl die Pin's an anderer Position waren.
Keine Ahnung ob es jemals eine andere Pin Belegung des XLR Steckers gab aber die Belegung auf diesem Bild ist definitiv (für heutige Zeiten) falsch.
2 und 3 muss gedreht werden.
Google Suche: XLR Belegung -----> Bilder und du wirst nur eine Art der Belegung finden.
 
  • #30
Bitte keine falschen Begrifflichkeiten.
Es heisst Clock Master und nicht Quelle.
Ein Gerät kann eine Clock Quelle sein muss aber deswegen nicht der Master sein!
AES3 ist ein selbsttaktendes Format und damit ist jedes Gerät welches AES ausgibt eine Clock Quelle.
Aber eben nicht unbedingt der Master.
 
  • #31
An meinem FM9 habe ich zwei Möglichkeiten der Clock-Einstellungen. Fractal Audio benennt die Grundeinstellung mit "Wordclock" und diese kann man auf "Internal" oder "SPDIF" setzen.

FM9-SPDIF-Wordclock_001.png

Gemäß diesen Ausführungen habe ich die Wordclock jetzt auf "SPDIF" eingestellt. Vorher stand sie auf "Internal"

Hören tue ich nach wie vor nix. Beobachte aber folgendes:

AES- auf 2, AES+ auf 3: Kein Input-LED Ausschlag am FM9
AES- auf 3, AES+ auf 2: Die Input-LED zeigen permanenten Ausschlag im grünen Bereich - kein Klippen (wäre ein Rot-Ausschlag)

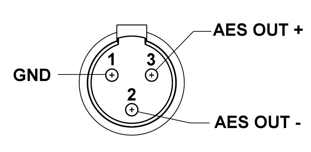
Ich beziehe mich mit 2 und 3 bei den Pin's auf das Schaltbild im Post #2.

Ich habe so langsam den Verdacht, das Line6 hier Extra-Suppen kocht. Line6 will ja das die Variax Gitarre am Helix Floorboard angschlossen wird und nicht an Fremd-Produkte. Ich habe so eben versucht bei Yamaha Deutschland (Line6 Vertrieb) und der Fa. PMS (von Yamaha Deutschland authorisierter Servicepartner bei Reparaturen rund um Modeller-Produkte) jemanden telefonisch zu erreichen.... ...."ich rufe außerhalb der Geschäftszeiten an" ...ich versuche es morgen Vormittag noch mal. Ich habe den Verdacht, das die Variax nicht auf 48 KHz sendet - aber das will ich jetzt hinterfragen.
 
  • #32
Zwischenbericht: Von der Fa. PMS (offizieller Servicepartner von Line6 in Deutschland) bekam ich die Antwort, das sie es nicht wissen. Ich möge doch bitte ein Ticket bei Line6 direkt aufmachen und die Samplerwerte dort direkt hinterfragen.

Das Ticket ist eröffnet und ich muss ~3 Tage auf die Antwort warten.

-----

By the way: Wenn unter Euch Gitarristen sind, die überlegen auf einen Modeller zu wechseln > Fractal Audio bei www.g66.eu !!! ...mal ganz davon abgesehen das es mit Abstand die besten Modeller ever sind, im Servicefall haben die den BESTEN ever :2up:

Ich brauchte ihn zum Glück noch nie in Anspruch nehmen, aber die, die den Service brauchten berichten zu 100% übereinstimmend: Sobald das Gerät bei g66 in Flensburg eingetroffen ist, wird es sofort repariert und unmittelbar nach der Reparartur an UPS übergeben. In der Regel ist ein Gerät nur 3 Tage außer Haus. Aber das nur mal am Rande ;)
 
  • #33
Die Tage vergehen und Line6 meldet sich nicht zurück. Ich habe da jetzt noch mal nachgehakt. Es kann doch nicht so schwer sein, mir 2 Zahlen zu nennen?!

Hast Du die Möglichkeit, irgendwo an jemanden mit einem Oszilloskop heran zu kommen?
Ich würde tatsächlich mal vorschlagen, die Signale am Variax Stecker durchzumessen.

...da war ich jetzt mal unterwegs, allerdings mit mäßigem Erfolg. Verständnisfrage: Könnte ich Dich kontaktieren (z.B. per PM) um näheres zur Durchführung einer solchen Messung zu hinterfragen? ...es ist schon wirklich lange her, wo ich mit einem Oszilooskop gearbeitet habe. Ich schau noch mal, ob ich da jemanden finde. Ich gehe morgen mal zu einer Elektrofachfirma hier bei mir vor Ort.

-----

Es gibt ja nun Formatwandler, mit denen man arbeiten könnte. Bei Amazon findet man ja so einiges aus China, aber bis jetzt ist da für mich nicht "der Treffer" mit bei.

Weiter dürfte das Ganze die maximale Größe einer Zigarettenschachtel haben und es müsste automatisch den Input detektieren können, um ihn dann auf das für's FM9 passende Format zu wandeln. Preislich sollte so etwas erschwinglich sein. =<30,- € wäre bei mir die Grenze.

Kennt jemand von Euch da ein Tool?

Studiogeräte im 19" Format bei 3 bzw. 4-stelligen Kosten sind für diese Sache indiskutabel.

Denn wenn alle Stricke reißen, dann löte ich mir ein Multicorekabel mit einer Y-Peitsche selber und greife dann den analogen Output der Variax per Klinke ab. Wäre nur schade, da hat man ein digitales Signal und könnte es ohne zusätliche Wandlungen verwenden...
 
Zuletzt bearbeitet:
  • #34
Verständnisfrage: Könnte ich Dich kontaktieren (z.B. per PM) um näheres zur Durchführung einer solchen Messung zu hinterfragen?
Klar. Je nach Region kann ich eventuell auch gerätetechnisch unterstützen.
 
  • Danke
Reaktionen: Skogtroll
  • #35
Noch mal eine andere Frage in die Runde: Kennt jemand den Hosa Tech-CDL-313-Converter?

Wenn ja, was macht der genau?

Die Beschreibung auf der Music Store Page glänzt ja richtig mit nicht vorhandenen Infos und telefonisch beim Music Store jemanden zu erreichen... ...ach lassen wir das. Warum geben die überhaupt Telefonnummern an, wenn nie jemand ran geht?!?!?! Egal welche Abteilung. Der BigT macht das besser > da geht eigentlich immer jemand ans Telefon.
 
  • #36

Das ist ein Konverter von S/PDIF zu AES/EBU und umgekehrt. Also das bidirektionale Pendant zu Deiner Widerstandslösung.
 
  • #37
Das ist ein Konverter von S/PDIF zu AES/EBU und umgekehrt. Also das bidirektionale Pendant zu Deiner Widerstandslösung.

Diese Funktion ist mir klar. Die entscheidende Frage ist, werden die technischen Werte angepasst? Das FM9 Floorboard muss "zwingend ein gültiges 48 KHz Signal erhalten"... ...und da ich nichts zum Einstellen an dem Hosa-Converter sehe, stellt sich mir die Frage, ob das automatisch geschieht??!!

"Misst" der Hosa-Converter das was rein und raus geht und passt dass alles automatisch an? Irgendwo muss ja auch der Preis von ~200,- € her kommen.
 
  • #38
Das FM9 Floorboard muss "zwingend ein gültiges 48 KHz Signal erhalten"... ...und da ich nichts zum Einstellen an dem Hosa-Converter sehe, stellt sich mir die Frage, ob das automatisch geschieht??!!
Auf Basis folgender Aussage auf der Homepage gehe ich davon aus, dass hier zumindest ein kleines bisschen Logik in der Kiste angewendet wird, da eine Manipulation der Daten nicht bei einer simplen (analogen) Symmetrierung erfolgen kann:
SCMS (Serial Copy Management System) is disabled when transferring from S/PDIF to AES/EBU.

Das heißt aber nicht (zwingend), dass die Kiste fehlerhafte Signale korrigieren könnte. Wenn die Variax kein gültiges Signal ausgibt, könnte das also entweder dazu führen, dass aus dem Konverter kein Signal kommt oder dass Du das gleiche wie jetzt beobachtest.

Wenn der Preis für Dich akzeptabel ist, kauf es doch einfach und teste. Ich bezweifle stark, dass Dir beim Musicstore jemand dieses Detail klären kann.
 
  • #39
Ich bezweifle stark, dass Dir beim Musicstore jemand dieses Detail klären kann.

....telefonisch habe ich vor - trotz mehrfachen Versuches - 2 Tagen keinen erreicht. Aber das kenne ich schon vom Music Store. Ich habe eine eMail geschrieben und die Antwort kam heute Morgen: Man kann das am Gerät einstellen, wie was rein und raus geht... ???? ...auf den Produktbildern sehe ich aber keine Einstellmöglichkeiten/Schalter. Ich habe noch mal "zurück gefragt". Mal sehen was die Antworten.

Echt witzig: Habe gestern mal bei Thomann wegen eines PickUps angerufen und da war - wie immer! - sofort jemand am Telefon!

Wenn der Preis für Dich akzeptabel ist, kauf es doch einfach und teste.

Daran habe ich auch gedacht, aber auch nur um das Teil nach dem Kauf wieder zurück zu geben. ~190,- € empfinde ich als zu teuer. Ich habe bei Kleinanzeigen und eBay bereits Anfragen gespeichert. Hatte da mit einem Novell MIDI-Teil großes Glück. Sollte auch neu um 200,- € kosten, habe es dann für ~40,- € bekommen.

Es wird wahrscheinlich auf die Lösung mit einem Y-Kabel hinaus laufen. Meinen Floorboard-"Übergabekasten" bereite ich dann so vor, dass ich jederzeit auf das reine Netzwerkkabel wechseln kann. Aber erst mal schleife ich dann das anlaoge Audio-Signal durch. Y-Kabel habe ich schon diverse selber gelötet. Mit klebenden Schrumpfschlauch kann man sehr gute Ergebnisse erreichen. Ist nur schade, wieder analoge und digitale Wandlungen zusätzlich - klanglich wird's man nicht hören, aber die zusätzlichen Latenzen nerven mich.
 
  • #40
Update: Der Line6-/Yamaha-Service hat sich dann mal gemeldet:

Hallo,Leider haben wir keine Informationen zu dieser Spezifikation. Wir empfehlen Ihnen, sich an das Variax-Forum oder die Facebook-Gruppe zu wenden. Vielen Dank und herzliche Grüße, Line 6 Customer Support

Wie peinlich ist das denn: Ich werde an ein Forum und/oder einer FB-Gruppe verwiesen mir die Antwort dort zu holen??? Ich fasse es nicht.
 

Zurück
Oben